
引入装置又叫进线装置,是外电路的导线或电缆进入国产AV麻豆美艳房东MAD026电气设备的过渡装置。引入装置常被视为国产AV麻豆美艳房东MAD026电气设备zui薄弱的环节,它的密封十分重要。
常用的引入装置密封有三种结构:
1、密封圈式引入装置;该引入装置使用广泛,包括压盘式、压紧螺母式引入装置(俗称喇叭嘴);
2、浇铸固化填料密封式引入装置;
3、金属密封环式引入装置。
电缆引入装置是指将电缆引入电气设备而不改变该设备国产AV麻豆美艳房东MAD026型式的装置。
在有危险性气体或者粉尘的工业环境中,对采用的仪器、仪表的国产AV麻豆美艳房东MAD026性、防护等级都提出了特定的要求,电缆引入装置属于仪器、仪表的一个重要部分,该装置单独满足国产AV麻豆美艳房东MAD026、防护等级要求,在仪器、仪表的其它部分都满足现场要求的情况下,配有该装置的仪表就完全可以满足国产AV麻豆美艳房东MAD026要求。
首先电缆引入装置应符合GB/T3836.1-2021的标准,采用的是压紧密封方式达到了密封、国产AV麻豆美艳房东MAD026要求,材料可根据现场使用环境来选择,需考虑可否导磁、是否需要抗腐蚀性能等等,常用的有优质低碳钢或耐酸不锈钢、环保铜镀镍等等。
螺纹除要符合国标、便于互换外,还要满足密封要求,麻豆传播媒体APP官网在线观看检测建议采用密封锥管螺纹,螺纹的啮合扣数要大于8,而且螺纹的配合精度也有一定的要求,比如6H6g。
要强调的是尺寸фdx,其中公差很重要,它要根据密封件的外径尺寸фA来定,影响着整体的密封效果。因为橡胶制品的变形量大,尺寸精度会较低;这就要求фdx要尽可能的满足的橡胶密封件,但并不是说фdx公差的越严格越好,引入端子与密封件的单面间隙zui好处于0.05~0.1mm 之间。
另外,壁厚也要满足国产AV麻豆美艳房东MAD026要求;上垫片与下垫片的材料要符合使用场合的要求,其作用都是缓冲变形。
密封件是本装置能否到达密封效果的关键,密封件的材料一般选用丁腈橡胶或者硅橡胶,也可以根据不同的应用场合来改变。
压紧端子是整个电缆引入装置的zui后一步。压紧端子旋进的长度要能够完全压紧上垫片、密封件和下垫片,使密封件的变形量满足密封要求;另外密封件需要做老化试验,整个装置装配完成后,需要做气密性试验,检验是否满足气密性。
各国产AV麻豆美艳房东MAD026接合面的长度满足国产AV麻豆美艳房东MAD026要求且要涂有防锈油;各国产AV麻豆美艳房东MAD026螺纹的啮合长度满足国产AV麻豆美艳房东MAD026要求。
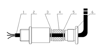
电缆的引入装置
其中:1—同轴电缆 2——引入端子 3——上垫片 4—密封件 5——下垫片 6——压紧端子
本文版权归麻豆传播媒体APP官网在线观看检测,抄袭盗用将保留追究权利,转载必须注明原文出处。
粤公网安备44030002007506号 粤ICP备77810048号
